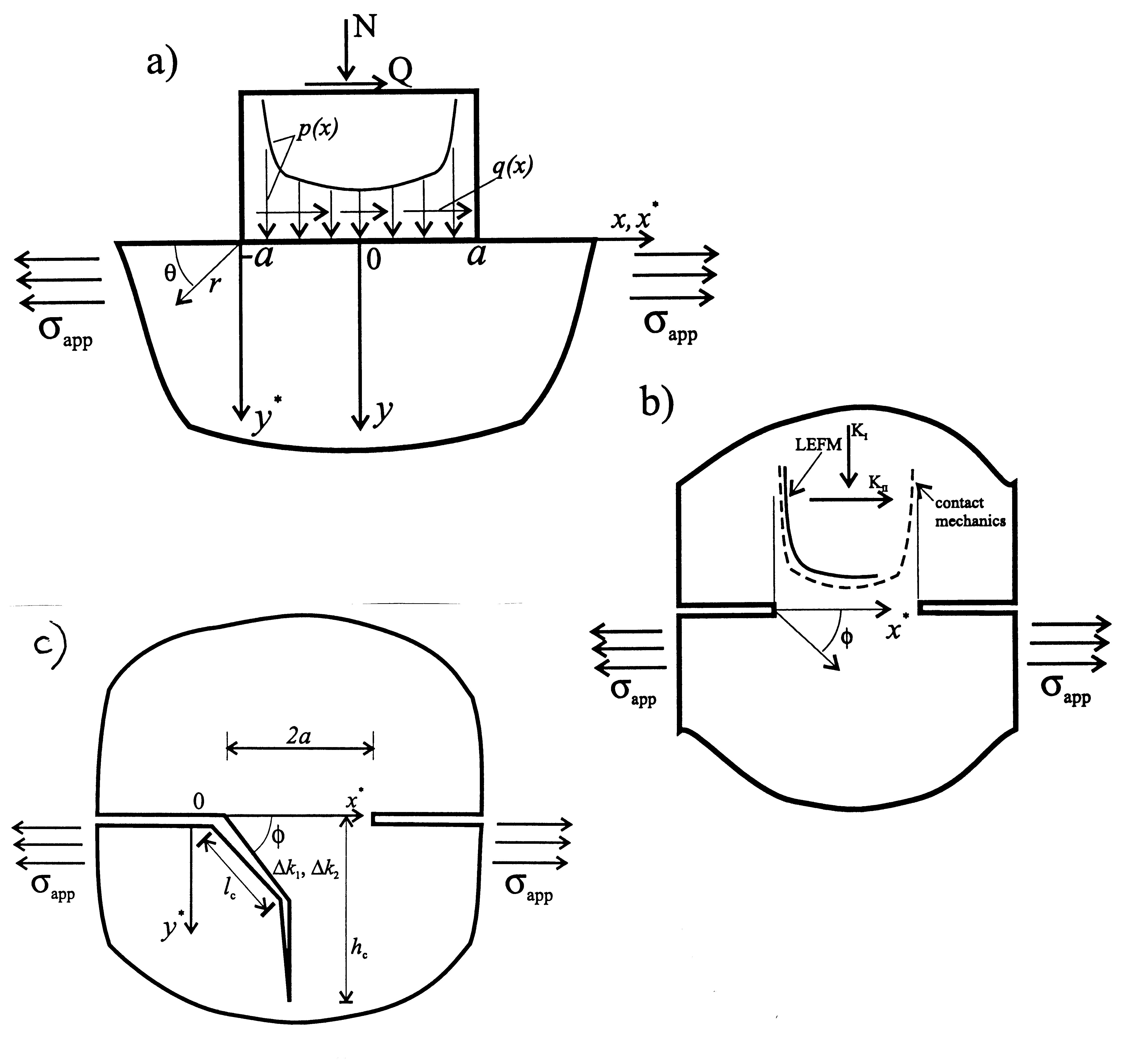
Crack Analogue: 
for life prediction in fretting fatigue (after Suresh et
al.)  | 
 
  | 
 
 
 
   | 
Objective:  
Definition, characterization and mechanism-based modeling
of the limiting states of damage associated with the onset of high-cycle
fatigue (HCF) failure in Ti- and Ni-base alloys for propulsion systems.  
 It is intended that the program will provide the scientific
basis for new comprehensive life-prediction and maintenance schemes for
the high-cycle fatigue of critical components in turbine engines   | 
Scientific/technical approaches:  
- 
systematic characterization of HCF thresholds for large and
small cracks at high frequencies to determine “worst-case” thresholds 
 
- 
definition and modeling of the role of high cycle fatigue/low/cycle
fatigue interactions, foreign object damage (FOD) 
 
- 
development of mechanism-based models for fretting fatigue 
 
- 
characterization of damage by in situ techniques
 
 
 | 
Accomplishments:  
established lower bound HCF threshold stress intensities
for onset of naturally-initiated small crack growth and cracking from FOD
sites in Ti-6Al-4V 
developed new life-prediction methodology for fretting fatigue
(termed Crack Analogue Method) relevant to aircraft engine components 
developed a 3-D finite-element method for simulating cyclic
frictional contact problems (termed Contact Fatigue Simulator) relevant
to fretting 
developed new theoretical model for fretting of coated surfaces
 
 |